|
Поз. на рис. |
Обозначение |
Наименование |
Куда входит |
|
обозначение сборочной единицы |
кол-во на сбороч. ед. |
|
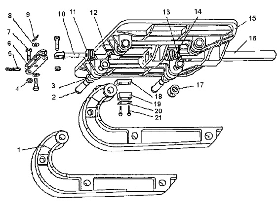
— |
1080.52.100СБ |
Днище ковша |
1085.02.00СБ |
1 |
|
1 |
1080.02.111 |
Петля днища |
1080.52.100СБ |
2 |
|
2 |
1080.02.110 |
Валик |
1080.52.100СБ |
4 |
|
3 |
1080.02.117 |
Шайба |
1080.52.100СБ |
8 |
|
4 |
— |
Гайка 2 М42.5 |
1080.52.100СБ |
2 |
|
5 |
1080.02.105СБ |
Цепь |
1080.52.100СБ |
1 |
|
6 |
1080.02.101СБ |
Рычаг засова |
1080.52.100СБ |
1 |
|
7 |
— |
Болт М42х150.58 |
1080.52.100СБ |
2 |
|
8 |
— |
Шайба 42.02 ГОСТ 11371-78 |
1080.52.100СБ |
2 |
|
9 |
— |
Шплинт 8х80 ГОСТ 397-79 |
1080.52.100СБ |
3 |
|
10 |
1080.02.114 |
Палец |
1080.52.100СБ |
1 |
|
11 |
— |
Шайба 48.02 ГОСТ 11371-78 |
1080.52.100СБ |
8 |
|
12 |
1080.02.305 |
Штифт |
1080.52.100СБ |
4 |
|
13 |
— |
Гайка 2 М48.5 |
1080.52.100СБ |
1 |
|
14 |
— |
Шплинт 8х90 ГОСТ 397-70 |
1080.52.100СБ |
3 |
|
15 |
1080.52.101 |
Плита днища |
1080.52.100СБ |
1 |
|
16 |
1080.02.107-1СБ |
Засов днища |
1080.52.100СБ |
1 |
|
17 |
1080.02.113 |
Шайба |
1080.52.100СБ |
8 |
|
18 |
1080.02.115 |
Бонка |
1080.52.100СБ |
1 |
|
19 |
1080.02.116 |
Упор |
1080.52.100СБ |
1 |
|
20 |
— |
Планка предохранительная 35х110.02 |
1080.52.100СБ |
1 |
|
21 |
— |
Болт M16х100.58 ГОСТ 7798-70 |
1080.52.100СБ |
2 |