Рукоять

  Предыдущая страница 

Поз. на рис.

Обозначение

Наименование

Куда входит

обозначение сборочной единицы

кол-во на сбороч. ед.

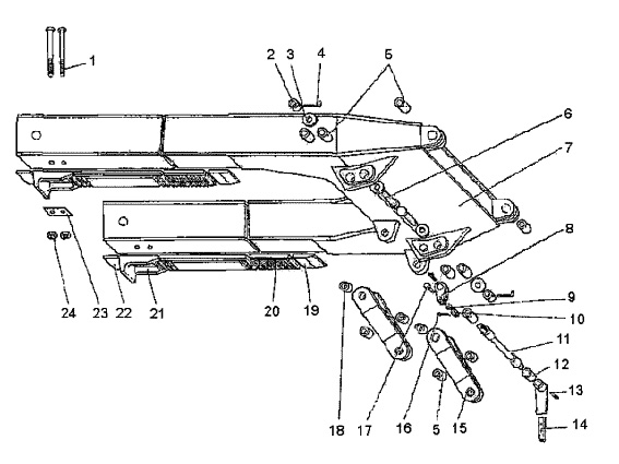
1

1080.04.04

Винт

1085.04.00СБ

4

2

1080.04.30

Кольцо

1085.04.00СБ

2

3

1080.04.09

Шайба

1085.04.00СБ

4

4

1080.04.07

Штифт

1085.04.00СБ

2

5

1080.04.05

Втулка

1085.04.00СБ

8

6

1080.04.06-1

Валик

1085.04.00СБ

2

7

1080.04.300СБ

Корпус рукояти

1085.04.00СБ

1

8

1080.04.03СБ

Рычаг

1085.04.00СБ

1

9

Шайба 20.02 ГОСТ 11371-78

1085.04.00СБ

1

10

Ганка М20.5 ГОСТ 5918-73

1085.04.00СБ

1

11

1080.04.13-2

Вал

1085.04.00СБ

1

12

1080.04.12

Втулка

1085.04.00СБ

2

13

Шпонка 20х12х03

1085.04.00СБ

2

14

1080.04.02СБ

Рычаг

1085.04.00СБ

1

15

1080.04.15-1СБ

Корпус тяги

1085.04.00СБ

2

16

Шплинт 4x40 ГОСТ 397-79

1085.04.00СБ

1

17

Болт М20х100.58 ГОСТ 7798-70

1085.04.00СБ

1

18

1080.04.16

Втулка

1080.04.01СБ

2

19

1080.04.115

Упор

1080.04.110-1СБ

1

20

1080.04.114-1

Рейка 

1080.04.110-1СБ

1

1080.04.110-1СБ

Рейка в сборе с упором

1085.04.00СБ

2

21

1080.04.11

Упор

1085.04.00СБ

2

22

1080.04.10

Упор

1085.04.00СБ

2

23

1080.04.08

Шайба стопорная

1085.04.00СБ

2

24

Гайка М42.4

1085.04.00СБ

4

Рукоять

  Предыдущая страница