|
Поз. на рис. |
Обозначение |
Наименование |
Куда входит |
|
обозначение сборочной единицы |
кол-во на сбороч. ед. |
|
— |
1080.05.600СБ |
Установка направляющих роликов |
1080.05.00СБ |
1 |
|
— |
1080.05.600СБ |
Установка направляющих роликов |
1082.05.00СБ |
1 |
|
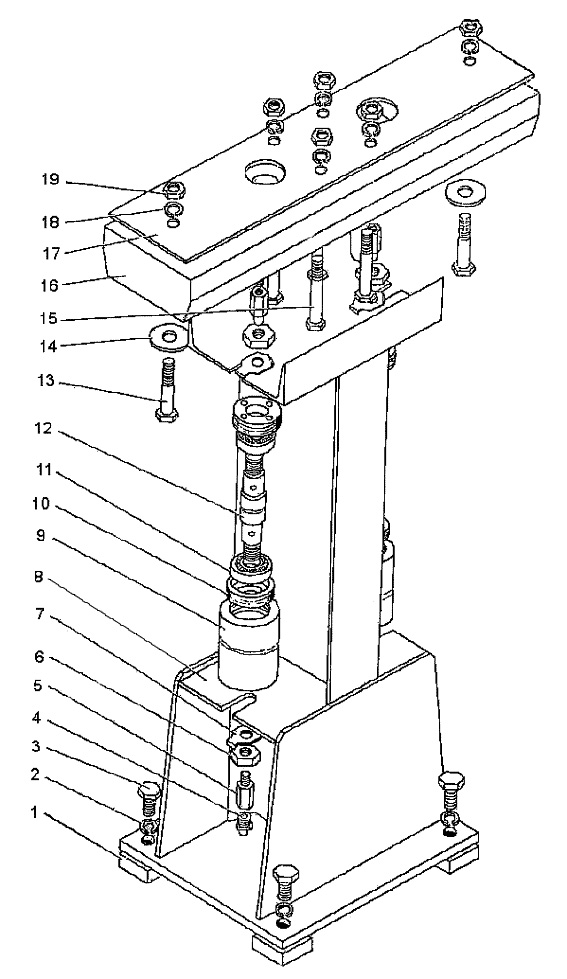
1 |
1080.05.614 |
Бонка |
1080.05.600CБ |
4 |
|
2 |
— |
Шайба 20 65Г ГОСТ 6402-70 |
1080.05.600CБ |
4 |
|
3 |
— |
Болт М20х40.58 ГОСТ 7798-70 |
1080.05.600CБ |
4 |
|
4 |
— |
Масленка винтовая МВ3/8" |
1080.05.600CБ |
4 |
|
5 |
1080.05.611 |
Футорка |
1080.05.600CБ |
4 |
|
6 |
— |
Ганка М24.4 ГОСТ 5915-70 |
1080.05.600CБ |
4 |
|
7 |
— |
Шайба стопорная 24 |
1080.05.600CБ |
4 |
|
8 |
1080.05.601СБ |
Стойка |
1080.05.600CБ |
1 |
|
9 |
1080.05.607СБ |
Ролик |
1080.05.600CБ |
2 |
|
— |
1080.05.609 |
Ролик |
1080.05.607CБ |
1 |
|
10 |
1080.05.615 |
Гайка |
1080.05.607CБ |
2 |
|
11 |
— |
Шарикоподшипник 206 ГОСТ 8338-75 |
1080.05.607CБ |
2 |
|
12 |
1080.05.610 |
Ось ролика |
1080.05.607CБ |
1 |
|
13 |
— |
Болт М16х90.58 ГОСТ 7798-70 |
1080.05.600СБ |
2 |
|
14 |
— |
Шайба 16.02 ГОСТ 6958-78 |
1080.05.600СБ |
2 |
|
15 |
— |
Болт М16х110.58 ГОСТ 7798-70 |
1080.05.600СБ |
4 |
|
16 |
1080.05.612 |
Брус |
1080.05.600СБ |
1 |
|
17 |
1080.05.613 |
Лист |
1080.05.600СБ |
1 |
|
18 |
— |
Шайба 16 65Г ГОСТ 6402-70 |
1080.05.600СБ |
6 |
|
19 |
— |
Гайка M16.4 ГОСТ 5915-70 |
1080.05.600СБ |
6 |