|
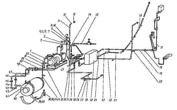
Поз. на рис. |
Обозначение |
Наименование |
Куда входит |
|
обозначение сборочной единицы |
кол-во на сбороч. ед. |
|
|
1080.19.00СБ |
Пневмосистема |
1085.07.01СБ |
1 |
|
|
|
Пневмосистема |
1085.07.01-03СБ |
1 |
|
— |
1080.19.00СБ |
Пневмосистема |
1085.07.01-03СБ |
1 |
|
— |
1080.19.00-1СБ |
Пневмосистема |
1085.07.01СБ |
1 |
|
1 |
1080.19.100СБ |
Установка компрессора ЭК-4 |
1080.19.00СБ |
1 |
|
— |
1080.19.100-1СБ |
Установка компрессора ЭК-7В |
1080.19.00-1СБ |
1 |
|
2 |
1080.19.15СБ |
Рукав |
1080.19.00СБ |
1 |
|
— |
1080.19.15СБ |
Рукав |
1080.19.00-1СБ |
1 |
|
3 |
— |
Трейник 20 |
1080.19.00СБ |
1 |
|
— |
— |
Трейник 20 |
1080.19.00-1СБ |
1 |
|
4 |
1080.19.43 |
Пластина |
1080.19.00СБ |
1 |
|
— |
1080.19.43 |
Пластина |
1080.19.00-1СБ |
1 |
|
5 |
— |
Болт М10х20.58 ГОСТ 7798-70 |
1080.19.00СБ |
11 |
|
— |
— |
Болт М10х20.58 ГОСТ 7798-70 |
1080.19.00-1СБ |
11 |
|
6 |
— |
Скоба 28-1 |
1080.19.00СБ |
10 |
|
— |
— |
Скоба 28-1 |
1080.19.00-1СБ |
10 |
|
7 |
— |
Шайба 10 65Г ГОСТ 6402-70 |
1080.19.00СБ |
11 |
|
— |
— |
Шайба 10 65Г ГОСТ 6402-70 |
1080.19.00-1СБ |
11 |
|
8 |
1080.19.44 |
Ниппель |
1080.19.00СБ |
1 |
|
— |
1080.19.44 |
Ниппель |
1080.19.00-1СБ |
1 |
|
9 |
— |
Прокладка диаметр 18/8х1,5 |
1080.19.00СБ |
2 |
|
— |
— |
Прокладка диаметр 18/8х1,5 |
1080.19.00-1СБ |
2 |
|
10 |
— |
Кран натяжной муфтовый КТК М20х1.5 с фланцем |
1080.19.00СБ |
1 |
|
— |
— |
Кран 14 М I РУ 1,6 Мра (16 kg/cm2) |
1080.19.00-1СБ |
1 |
|
11 |
— |
Рукав Г(1У)-10-18-У ГОСТ 18698-73: L=9500 мм |
1080.19.00СБ |
1 |
|
— |
— |
Рукав Г(1У)-10-18-У ГОСТ 18698-73: L=9000 мм |
1080.19.00-1СБ |
1 |
|
12 |
— |
Хомутик 30 |
1080.19.00СБ |
29 |
|
— |
— |
Хомутик 30 |
1080.19.00-1СБ |
29 |
|
13 |
— |
Наконечник 20 |
1080.19.00СБ |
14 |
|
— |
— |
Наконечник 20 |
|
13 |
|
14 |
1080.19.26СБ |
Кронштейн левый |
|
1 |
|
15 |
1080.19.21СБ |
Рукав для обдува |
|
1 |
|
16 |
1080.19.39 |
Труба |
1080.19.00-1СБ |
1 |
|
17 |
1080.19.300-1СБ |
Пневмосистема кабины |
|
1 |
|
— |
— |
|
|
|
|
18 |
1080.19.41-1 |
Планка |
1080.19.00СБ |
2 |
|
19 |
1080.19.37 |
Труба |
1080.19.00-1СБ |
1 |
|
20 |
1080.19.23CБ |
Кронштейн правый |
|
1 |
|
21 |
1080.19.38 |
Труба |
1080.19.00-1СБ |
1 |
|
22 |
1080.19.36 |
Труба |
|
|
|
23 |
1080.19.34 |
Труба |
|
1 |
|
24 |
1080.19.35 |
Труба |
|
1 |
|
25 |
1080.19.01СБ |
Установка распределительная |
|
1 |
|
— |
— |
Распределитель РЭП1-1-20 |
1080.19.01СБ |
3 |