Распределитель РЭП1-1-20

 Предыдущая страница | Следующая страница

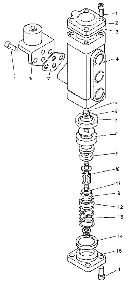
Поз. на рис.

Обозначение

Наименование

Куда входит

обозначение сборочной единицы

кол-во на сбороч. ед.

03820.00-01СБ

Распределитель РЭП1-1-20

1080.19.00СБ

3

03820.00-01СБ

Распределитель РЭП1-1-20

1080.19.00-1CБ

3

03820.00-01СБ

Распределитель РЭП1-1-20

1082.19.00СБ

3

03820.00-01СБ

Распределитель РЭП1-1-20

1082.19.00-1CБ

3

1

Винт M10х25.56.019 ГОСТ 11738-72

 

10

2

03820.00.01-01

Крышка

03820.00-01СБ

1

3

03820.00.02-01

Прокладка

 

1

4

03820.00.04

Корпус

 

1

5

03817.00.08

Гайка

 

9

6

03817.00.07

Шайба  стопорная

 

2

7

Манжета 30х50 ГОСТ 6969-54

 

1

8

03817.00.32

Поршень

 

1

9

03817.00.15-01

Клапан

 

2

10

03817.00.30

Шток

 

1

11

03817.00.14-01

Шайба

 

1

12

03817.00.31

Тарелка

 

1

13

03817.00.34

Пружина

 

1

14

03817.00.23-01

Кольцо уплотнительное

 

1

15

03817.00.38

Крышка

 

1

16

Вентиль ВВ-32Ш

 

1

17

03817.00.05

Прокладка

 

1

 Предыдущая страница | Следующая страница