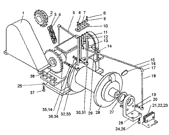
|
Поз. на рис. |
Обозначение |
Наименование |
Куда входит |
|
обозначение сборочной единицы |
кол-во на сбороч. ед. |
|
— |
1080.69.00СБ |
Лебедка стреловая |
1085.07.01СБ |
1 |
|
— |
1080.69.00-01СБ |
Лебедка стреловая |
1085.07.01.-03СБ |
1 |
|
— |
1080.69.00-02СБ |
Лебедка стреловая |
1085.07.01-02СБ |
1 |
|
— |
1080.69.00-02СБ |
Лебедка стреловая |
1085.07.01-04СБ |
1 |
|
1 |
1080.09.20-1СБ |
Кожух |
1080.69.00СБ |
1 |
|
2 |
1080.09.62 |
Звездочка |
1080.69.00СБ |
1 |
|
3 |
1080.09.50-1СБ |
Звено соединительное |
1080.69.00СБ |
1 |
|
4 |
— |
Цепь 1Н-44,45, число звеньев 58, ГОСТ 21834-76 |
1080.69.00СБ |
1 |
|
5 |
1080.09.120-07 |
Труба |
1080.69.00СБ |
1 |
|
|
|
|
1080.69.00-01СБ |
|
|
6 |
— |
Масленка винтовая МВ 3/8" |
1080.69.00-02СБ |
1 |
|
7 |
1080.11.09 |
Муфта |
|
4 |
|
8 |
— |
Пробка 20 |
|
1 |
|
9 |
— |
Муфта короткая 20 ГОСТ 8954-75 |
|
2 |
|
10 |
1080.09.04 |
Планка |
|
|
|
11 |
1080.09.120-01 |
Труба |
|
3 |
|
12 |
1080.09.120 |
Труба |
|
1 |
|
13 |
1080.09.123 |
Труба |
|
1 |
|
14 |
— |
Гайка Труб. 1/4".5 |
|
4 |
|
15 |
1080.09.120-06 |
Труба |
|
1 |
|
16 |
1080.10.23 |
Клип |
|
1 |
|
17 |
— |
Угольник 8 ГОСТ 8946-75 |
|
10 |
|
18 |
1080.09.120-04 |
Труба |
1080.09.00СБ |
1 |
|
19 |
1080.09.15 |
Футорка |
1080.69.00-01СБ |
2 |
|
20 |
1080.09.16 |
Патрубок |
1080.69.00-02СБ |
4 |
|
21 |
1080.09.121 |
Прокладка |
|
1 |
|
22 |
1080.09.121-01 |
Прокладка |
|
1 |
|
23 |
1080.09.121-02 |
Прокладка |
|
1 |
|
24 |
— |
Болт М20х 70.58 ГОСТ 7798-70 |
|
1 |
|
25 |
— |
Шайба 20 65Г ГОСТ 6402-70 |
|
13 |
|
26 |
1080.09.80 |
Кронштейн |
|
1 |
|
27 |
1080.09.81 |
Шайба |
|
1 |
|
28 |
1080.09.100СБ |
Редуктор РЧ-37 |
1080.69.00СБ |
1 |
|
— |
1080.09.100-01СБ |
Редуктор РЧ-37 |
1080.69.00-01СБ |
1 |
|
— |
1080.09.100-02СБ |
Редуктор РЧ-37 |
1080.69.00-02СБ |
1 |
|
29 |
1080.09.120-09 |
Труба |
10НБ.69.00СБ |
2 |
|
30 |
1080.09.123-01 |
Труба |
|
1 |
|
31 |
— |
Угольник 20 ГОСТ 8946-75 |
|
1 |
|
32 |
1080.09.120-02 |
Труба |
1080.69.00СБ |
1 |
|
33 |
— |
Ганка Труб. 3/4".5 |
1080.69.00-01СБ |
1 |
|
|
|
|
1080.69.00-02СБ |
|
|
34 |
1080.09.10 |
Патрубок |
|
1 |
|
35 |
1080.09.120-03 |
Труба |
|
1 |
|
36 |
— |
Муфта короткая 8 ГОСТ 8954-75 |
|
1 |
|
37 |
— |
Болт М20х 50.58 ГОСТ 7798-70 |
|
12 |
|
38 |
1080.09.55СБ |
Бонка |
|
1 |