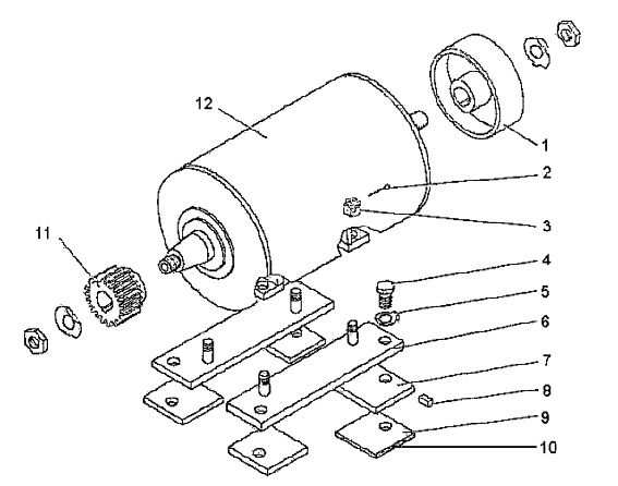
Вал моторный

  Предыдущая страница | Следующая страница

Поз. на рис.

Обозначение

Наименование

Куда входит

обозначение сборочной единицы

кол-во на сбороч. ед.

1080.55.331СБ

Вал моторный

1080.55.300СБ

1

1

1080.05.387

Шкип

1080.55.300СБ

1

2

Шплинт 6,3х70 ГОСТ 397-79

1080.55.300СБ

4

3

Гайка М36.5

1080.55.300СБ

4

4

1080.05.396

Болт

1080.55.300СБ

4

5

Шайба стопорная 38.02 ГОСТ 3693-52

1080.55.300СБ

4

6

1080.05.363СБ

Бонка

1080.55.300СБ

2

7

1080.05.371-1

Бонка

1080.55.300СБ

4

8

1080.05.399

Прокладка

1080.55.300СБ

8

9

1080.05.399-01

Прокладка

1080.55.300СБ

4

10

1080.05.369-1

Упор

1080.55.300СБ

8

Квадрат В20 ГОСТ 2591-71

1080.55.300СБ

8

               20-2-а ГОСТ 1050-74

ГОСТ 1050-74 L = 50мм

11

1080.05.372-1

Шестерня моторная

1080.53.300СБ

1

12

Электродвигатель ДПЭ-52

1080.55.300СБ

1

Вал моторный

  Предыдущая страница | Следующая страница