Кабина

 Предыдущая страница | Следующая страница

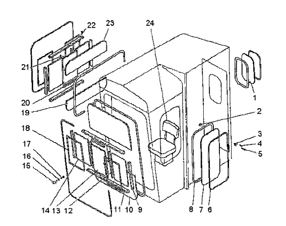
Поз. на рис.

Обозначение

Наименование

Куда входит

обозначение сборочной единицы

кол-во на сбороч. ед.

1080.13.00-1СБ

Кабина

1085.07.01СБ

1

1080.13.00-1СБ

Кабина

1085.07.01-03CБ

1

1082.13.00-1СБ

Кабина

1085.07.01-02СБ

1

1082.13.00.1СБ

Кабина

1085.07.01-04CБ

1

1

1080.13.95

Стекло

1080.13.00-1CБ

1

2

1080.13.30

Шайба

1082.13.00-1СБ

20

3

1080.13.31

Шайба

1082.13.00-1СБ

20

4

Винт ГОСТ 17475-72: 3 М6х12.36.016

1082.13.00-1СБ

20

5

Винт ГОСТ 17475-72: 3 М4х30.36.0 16

1082.13.00-1СБ

20

6

1014.96.89

Профиль ПР-2

1082.13.00-1СБ

1

7

1080.13.41

Стекло

1082.13.00-1СБ

1

8

1019.86.22

Профиль НТ-10Б

1082.13.00-1СБ

1

9

1080.13.07

Профиль боковой

1082.13.00-1СБ

4

10

1080.13.29

Стекло

1082.13.00-1СБ

2

11

1080.13.06

Профиль облицовочный

1082.13.00-1СБ

4

12

1080.13.14-1

Стойка

1082.13.00-1СБ

4

13

1080.13.11

Стекло

1082.13.00-1СБ

2

14

1080.13.08

Стекло

1082.13.00-1СБ

4

15

1080.13.09

Ручка

1082.13.00-1СБ

4

16

1080.13.16

Прокладка

1082.13.00-1СБ

8

17

1080.13.15

Винт

1082.13.00-1СБ

4

18

1019.86.04-1

Профиль

1082.13.00-1СБ

2

19

1080.13.34

Стекло

1082.13.00-1СБ

1

20

1080.13.04CБ

Уплотнитель

1082.13.00-1СБ

4

21

1019.86.08

Профиль

1082.13.00-1СБ

1

22

Винт 3М4х12.36.016 ГОСТ 17475—72

1082.13.00-1СБ

16

23

1080.13.36

Стекло зеленоватое

1082.13.00-1СБ

1

24

1080.13.680СБ

Сиденье машиниста

1082.13.00-1СБ

1

Кабина

 Предыдущая страница | Следующая страница