|
Поз. на рис. |
Обозначение |
Наименование |
Куда входит |
|
обозначение сборочной единицы |
кол-во на сбороч. ед. |
|
— |
1080.12.00СБ |
Цапфа центральная |
1085.07.01СБ |
1 |
|
— |
1080.12.00СБ |
Цапфа центральная |
1085.07.01-02СБ |
1 |
|
— |
1080.12.00СБ |
Цапфа центральная |
1085.07.01-03СБ |
1 |
|
— |
1080.12.00СБ |
Цапфа центральная |
1085.07.01-01СБ |
1 |
|
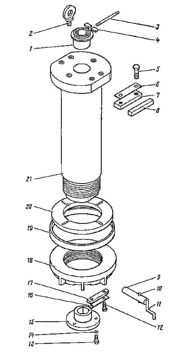
1 |
1080.12.05 |
Стакан верхний |
1080.12.00СБ |
1 |
|
2 |
— |
Рым-болт М30 ГОСТ 4751-73 |
1080.12.00СБ |
2 |
|
3 |
1080.12.08 |
Трубка смазочная |
1080.12.00СБ |
1 |
|
4 |
1080.12.15 |
Планка |
1080.12.00СБ |
2 |
|
5 |
— |
Болт М30х 90.58 ГОСТ 7798-70 |
1080.12.00СБ |
2 |
|
6 |
1080.12.03 |
Планка предохранительная |
1080.12.00СБ |
1 |
|
7 |
1080.12.02 |
Планка |
1080.12.00СБ |
1 |
|
8 |
1080.12.01-1 |
Планка |
1080.12.00СБ |
1 |
|
9 |
1080.12.17 |
Валик |
1080.12.00СБ |
1 |
|
10 |
1080.12.16 |
Палец |
1080.12.00СБ |
1 |
|
11 |
1080.12.07 |
Ручка |
1080.12.00СБ |
1 |
|
12 |
— |
Болт М20х40.58 ГОСТ 7798-70 |
1080.12.00СБ |
4 |
|
13 |
— |
Винт 2М16х40.58 ГОСТ 1491-80 |
1080.12.00СБ |
3 |
|
14 |
— |
Шайба 16 ГОСТ 6402-70 |
1080.12.00СБ |
3 |
|
15 |
1080.12.10 |
Стакан нижний |
1080.12.00СБ |
1 |
|
16 |
1080.12.06 |
Планка предохранительная |
1080.12.00СБ |
2 |
|
17 |
1080.12.11 |
Планка стопорная |
1080.12.00СБ |
2 |
|
18 |
1080.12.12 |
Ганка |
1080.12.00СБ |
1 |
|
19 |
1080.12.14 |
Кольцо |
1080.12.00СБ |
1 |
|
20 |
1080.12.13 |
Шайба сферическая |
1080.12.00СБ |
1 |
|
21 |
1080.12.04 |
Цапфа центральная |
1080.12.00СБ |
1 |