|
Поз. на рис. |
Обозначение |
Наименование |
Куда входит |
|
обозначение сборочной единицы |
кол-во на сбороч. ед. |
|
— |
1080.16.00СБ |
Редуктор поворота |
1085.07.01СБ |
2 |
|
— |
1080.16.00СБ |
Редуктор поворота |
1085.07.01-03СБ |
2 |
|
— |
1082.16.00СБ |
Редуктор поворота |
1085.07.01-02СБ |
2 |
|
— |
1082.16.00СБ |
Редуктор поворота |
1085.07.01-04СБ |
2 |
|
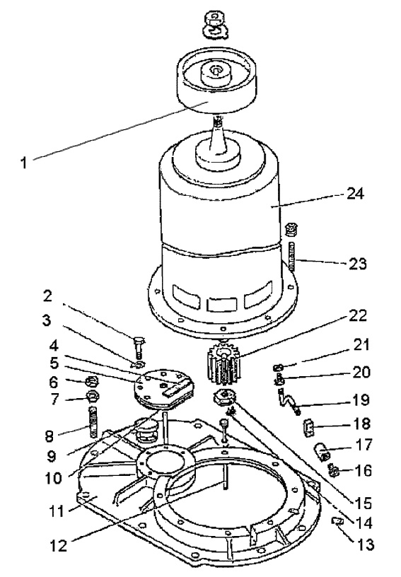
1 |
1080.16.41 |
Шкив |
1080.16.00СБ |
1 |
|
2 |
— |
Болт М16х40.58 ГОСТ 7798-70 |
1082.16.00CБ |
10 |
|
3 |
— |
Шайба стопорная 17.02 ГОСТ 3693-52 |
1082.16.00CБ |
10 |
|
4 |
1080.16.48 |
Резина рулонная 2МБ-Б-С ГОСТ 7338-77 |
1082.16.00CБ |
2 |
|
5 |
1080.16.29 |
Крышка |
1082.16.00CБ |
1 |
|
6 |
— |
Гайка М24.4 ГОСТ 5916-70 |
1082.16.00CБ |
17 |
|
7 |
— |
Гайка М24.4 ГОСТ 5915-70 |
1082.16.00CБ |
17 |
|
8 |
— |
Шпилька Б М24х70 (24/54) 010 ГОСТ 11765-66 |
1082.16.00CБ |
6 |
|
9 |
01469.00 |
Колпак вентиляционный № 1 |
1080.16.00CБ |
1 |
|
10 |
— |
Прокладка ф 270/192х0,5 |
1082.16.00СБ |
5 |
|
11 |
1080.10.32-1 |
Крышка |
1082.16.00СБ |
1 |
|
12 |
03680.00-01 |
Маслоуказатель жезловой 1-400-390-15 |
1082.16.00СБ |
1 |
|
13 |
— |
Штифт 16х40 ГОСТ 3128-70 |
1082.16.00СБ |
1 |
|
14 |
— |
Болт 3 М10х20.58 ГОСТ 7798-70 |
1082.16.00СБ |
2 |
|
15 |
1080.16.26 |
Гайка |
1082.16.00СБ |
1 |
|
— |
1080.16.07СБ |
Маслопровод |
1082.16.00СБ |
1 |
|
16 |
— |
Масленка винтовая MB 3/8" |
1080.16.07СБ |
1 |
|
17 |
— |
Муфта к труб. 3/8" |
1080.16.07СБ |
1 |
|
18 |
1080.16.10 |
Прокладка |
1080.16.07СБ |
1 |
|
19 |
1080.16.09 |
Колено |
1080.16.07СБ |
1 |
|
20 |
1080.16.08 |
Футорка |
1080.16.07СБ |
1 |
|
21 |
— |
Гайка M10.4 ГОСТ 5915-70 |
1080.16.07СБ |
1 |
|
22 |
1080.16.40-2 |
Шестерня |
1080.16.00СБ |
1 |
|
23 |
— |
Шпилька Б М24х60-010, ГОСТ 11765-66 |
1082.16.00СБ |
7 |
|
24 |
— |
Электродвигатель ДПВ-52 |
1082.16.00СБ |
1 |