|
Поз. на рис. |
Обозначение |
Наименование |
Куда входит |
|
обозначение сборочной единицы |
кол-во на сбороч. ед. |
|
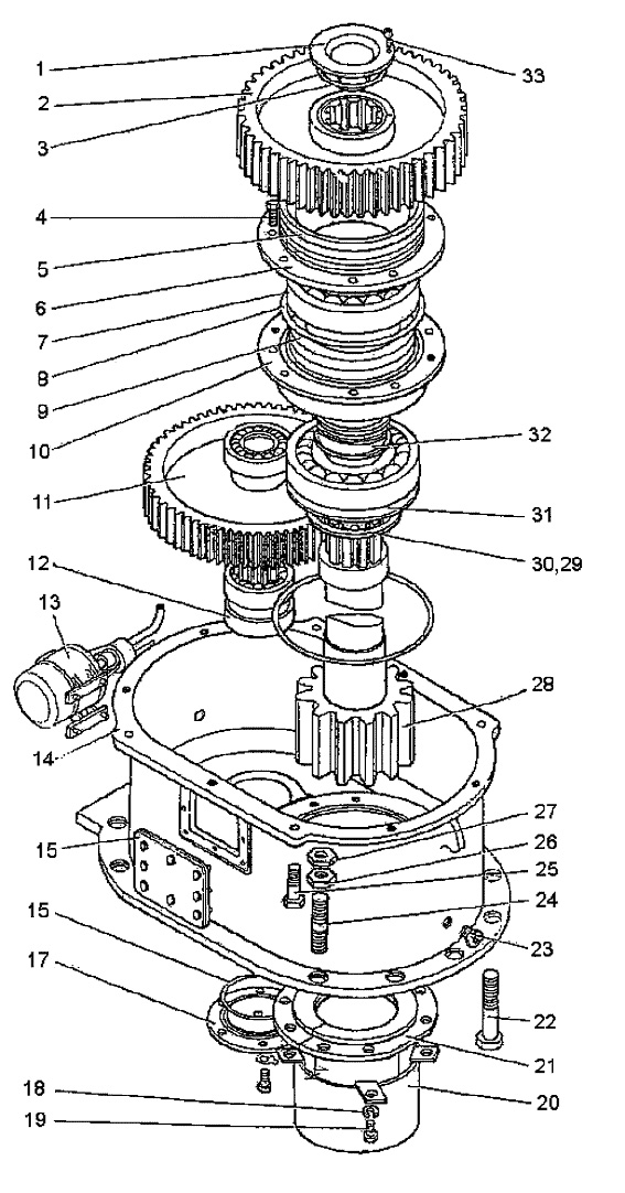
1 |
1080.16.36 |
Пробка |
1082.16.00СБ |
1 |
|
2 |
1080.16.27-1 |
Колесо |
1082.16.00СБ |
1 |
|
3 |
— |
Кольцо 170х180х58-2-2, ГОСТ 9833-73 |
1082.16.00СБ |
1 |
|
4 |
— |
Болт 3 М24х90.58 ГОСТ 7798-70 |
1082.16.00СБ |
8 |
|
5 |
— |
Лента СП-1500-18-18, ГОСТ 6308-71 |
1082.16.00СБ |
0,15kg |
|
6 |
1080.16.33 |
Крышка лабиринтная |
1082.16.00СБ |
1 |
|
7 |
— |
Подшипник 3636 ГОСТ 5721-75 |
1082.16.00СБ |
2 |
|
8 |
1080.16.35 |
Кольцо |
1082.16.00СБ |
2 |
|
9 |
1080.16.31 |
Крышка |
1082.16.00СБ |
1 |
|
10 |
1080.16.38 |
Стакан |
1082.16.00СБ |
1 |
|
11 |
1080.16.01СБ |
Блок |
1082.16.00СБ |
1 |
|
12 |
0.03181 |
Кольцо распорное Б 190х55 |
1082.16.00СБ |
1 |
|
13 |
1080.16.12-2СБ |
Система смазки |
1080.16.00СБ |
1 |
|
— |
1082.16.01-1СБ |
Система смазки |
1082.16.00СБ |
1 |
|
14 |
1080.16.28-1 |
Корпус |
1080.16.00СБ |
1 |
|
15 |
— |
Крышка 200х210 |
1082.16.00СБ |
2 |
|
16 |
— |
Кольцо 200х215х85-2-2, ГОСТ 9833-73 |
1082.16.00СБ |
1 |
|
17 |
1080.10.30 |
Крышка |
1082.16.00СБ |
1 |
|
18 |
— |
Шайба 12 05Г ГОСТ 0402-70 |
1082.16.00СБ |
8 |
|
19 |
— |
Болт M12х40.58 ГОСТ 7798-70 |
1082.16.00СБ |
8 |
|
20 |
1080.10.04СБ |
Кожух |
1082.16.00СБ |
1 |
|
21 |
1080.10.34 |
Крышка |
1082.16.00СБ |
2 |
|
22 |
— |
Болт М30х130,58 ГОСТ 7798-70 |
1082.16.00СБ |
6 |
|
23 |
— |
Маслёнка винтовая MB 3/8" |
1082.16.00СБ |
2 |
|
24 |
— |
Шпилька Б М30х80-010 |
1080.16.00СБ |
4 |
|
— |
— |
Шпилька Б М30х80-010 |
1080.16.00СБ |
4 |
|
25 |
1080.16.87 |
Болт |
1080.16.00СБ |
4 |
|
26 |
— |
Гайка М30.4 |
1080.16.00СБ |
10 |
|
27 |
— |
Гайка М30.4 |
1080.16.00СБ |
10 |
|
28 |
1080.16.25-1 |
Вал-шестерня |
1080.16.00СБ |
1 |
|
29 |
— |
Манжета P260 Н2601 |
1080.16.00СБ |
1 |
|
30 |
— |
Пружина 200 |
1080.16.00СБ |
1 |
|
31 |
1080.10.37 |
Стакан |
1080.16.00СБ |
1 |
|
32 |
1080.16.42СБ |
Труба |
1080.16.00СБ |
1 |
|
33 |
— |
Винт М16х30.56 ГОСТ 1478-75 |
1080.16.00СБ |
2 |