Платформа с механизмами                                                                           

 Следующая

 Кинематическая схема
 Детали и сборочные единицы
 Оборудование рабочее
 Платформа с механизмами
 Тележка ходовая
 Подшипники качения

Поз. на рис.

Обозначение

Наименование

Куда входит

обозначение сборочной единицы

кол-во на сбороч. ед.

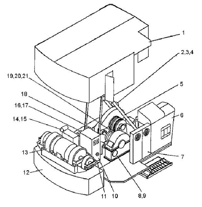
1

1080.15.00СБ

Кузов

1085.07.01СБ

1

 

1080.15.00СБ

Кузов

1085.07.01-02СБ

1

 

1080.15.00СБ

Кузов

1085.07.01-0ЗСБ

1

 

1084.15.00СБ

Кузов

1085.07.01-04СБ

1

2

1080.16.00СБ

Редуктор  поворота

1085.07.01СБ

2

 

1080.16.00СБ

Редуктор  поворота

1085.07.01-03СБ

2

 

1082.16.00СБ

Редуктор  поворота

1085.07.01-02СБ

2

 

1082.16.00СБ

Редуктор  поворота

1085.07.01-04СБ

2

3

1080.17.00СБ

Тормоза поворта

1085.07.01СБ

2

 

1080.17.00СБ

Тормоза поворта

1085.07.01-02СБ

2

 

1080.17.00СБ

Тормоза поворта

1085.07.01-03СБ

2

 

1080.17.00СБ

Тормоза поворта

1085.07.01-04СБ

2

4

1080.18.00-1СБ

Вентилятор поворота

1085.07.01СБ

2

 

1080.18.00-1СБ

Вентилятор поворота

1085.07.01-02СБ

2

 

1080.18.00-1СБ

Вентилятор поворота

1085.07.01-0ЗСБ

2

 

1080.18.00-1СБ

Вентилятор поворота

1085.07.01-04СБ

2

5

1080.10.00СБ

Стойка

1085.07.01СБ

1

 

1080.10.00СБ

Стойка

1085.07.01-02СБ

1

 

1080.10.00СБ

Стойка

1085.07.01-0ЗСБ

1

 

1080.10.00СБ

Стойка

1085.07.01-04СБ

1

6

1080.13.00-1СБ

Кабина

1085.07.01СБ

1

 

1080.13.00-1СБ

Кабина

1085.07.01-03СБ

1

 

1082.13.00-1СБ

Кабина

1085.07.01-02СБ

1

 

1082.13.00-1СБ

Кабина

1085.07.01-04СБ

1

7

Комплектное устройство управления приводом КУЭ-2У2

1085.07.01СБ

1

 

Комплектное устройство управления приводом КУЭ-2У2

1085.07.01-03СБ

1

 

Комплектное устройство управления приводом КУЭ-2Т2

1085.07.01-02СБ

1

 

Комплектное устройство управления приводом КУЭ-2Т2

1085.07.01-04СБ

1

 Следующая